• 羞羞影视免费入口,羞羞在线漫画,免费羞羞网站,羞羞漫画真人版

    铅防护门

    新闻分类

    联系羞羞影视免费入口

    联系人:徐经理

    电话:139 6412 8213 

    地址:济南市长清区大学科技园

    网址:www.5devip.com 

    ​铅门配件安装时的注意点

    您的当前位置: 首 页 >> 新闻资讯 >> 公司新闻

    ​铅门配件安装时的注意点

    发布日期:2020-08-14 作者: 点击:


    1.锁体位置打孔(图10)

    铅门锁体位置打孔时,要留意体方轴中心位置到锁芯中心位置的距离。这段距离目前以92mm的居多,其余两孔为两边执手面板的固定螺丝位置,可稍微放松,最好是用标准模板一次打好。

    铅门厂家.png

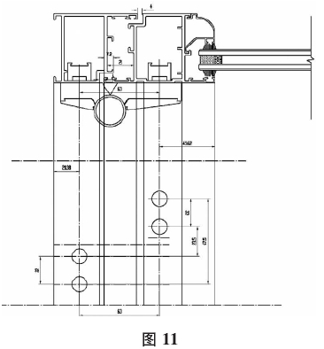
    2.合页安装(图11)

    免费羞羞网站合页的安装中,欧标槽合页的安装不需要打孔,给门窗厂很大方便。非欧标槽合页一般都要打孔。图II为大鸡合页的打孔示意图。目前国内大部分合页使用的框扇之间的中心距离在60-65mm之间;还有部分料使用搭接料,需要的中心距离在80-90mm之间;要根据情况不同选择好合页。

    铅门厂家.png

    同时,由于很多超大超宽门都需要安装第三个合页。这里建议第三个合页安装在离下合页3/4高度的位置处(请参看本人的另一篇文章《第三个合页应装在哪个位置?一平开门窗中的三个合页的安装位置分析》,这里不再赘述)。

    3.铅防护门合页的调整

    目前铅门合页都是可以进行三维调节的。但调节毕竟是微量部分调节,前提必须是门扇框之问的问隙要留对。如果一味迷信调节,不注重门窗加工质量,再好的调节手段也是没有用的。


    本文网址:http://www.5devip.com/news/1071.html

  • 在线客服
  • 联系电话
    13964128213
  • 在线留言
  • 手机网站
  • 在线咨询
    网站地图